Search
QINGDAO LG RIGGING CO.,LTD.
QINGDAO LG RIGGING CO.,LTD.
LGRIG® Marine Double Bollard JIS F2001-1995
LGRIG® Marine Double Bollard JIS F2001-1995

LGRIG® Marine Double Bollard JIS F2001-1995

Marine Double Bollard, also known as Double Bitt Boat Bollard.

JIS F2001-1995 specifies the design, dimensional, and testing requirements for marine double bollards used to secure vessels at piers or wharves.

These bollards are constructed from cast iron or steel and consist of two vertical horns connected by a crossbeam, which evenly distributes mooring line loads to minimize risk of damage.

The standard defines precise dimensions for horn height and diameter as well as crossbeam length and width, and establishes minimum breaking load requirements.

Bollards undergo rigorous testing—including load tests and visual inspections—to verify strength and durability under operational conditions.

By ensuring structural reliability and safe performance, the standard helps prevent accidents and protect maritime infrastructure.

Trawling Gear
Hooks
Shackles
Boat Fittings

Information of LGRIG® Marine Double Bollard JIS F2001-1995

Brand

LGRIG®

Material

Steel Plate

Standard

JIS F2001-1995

Style

Marine Double Bollard


Specification of LGRIG® Marine Double Bollard JIS F2001-1995

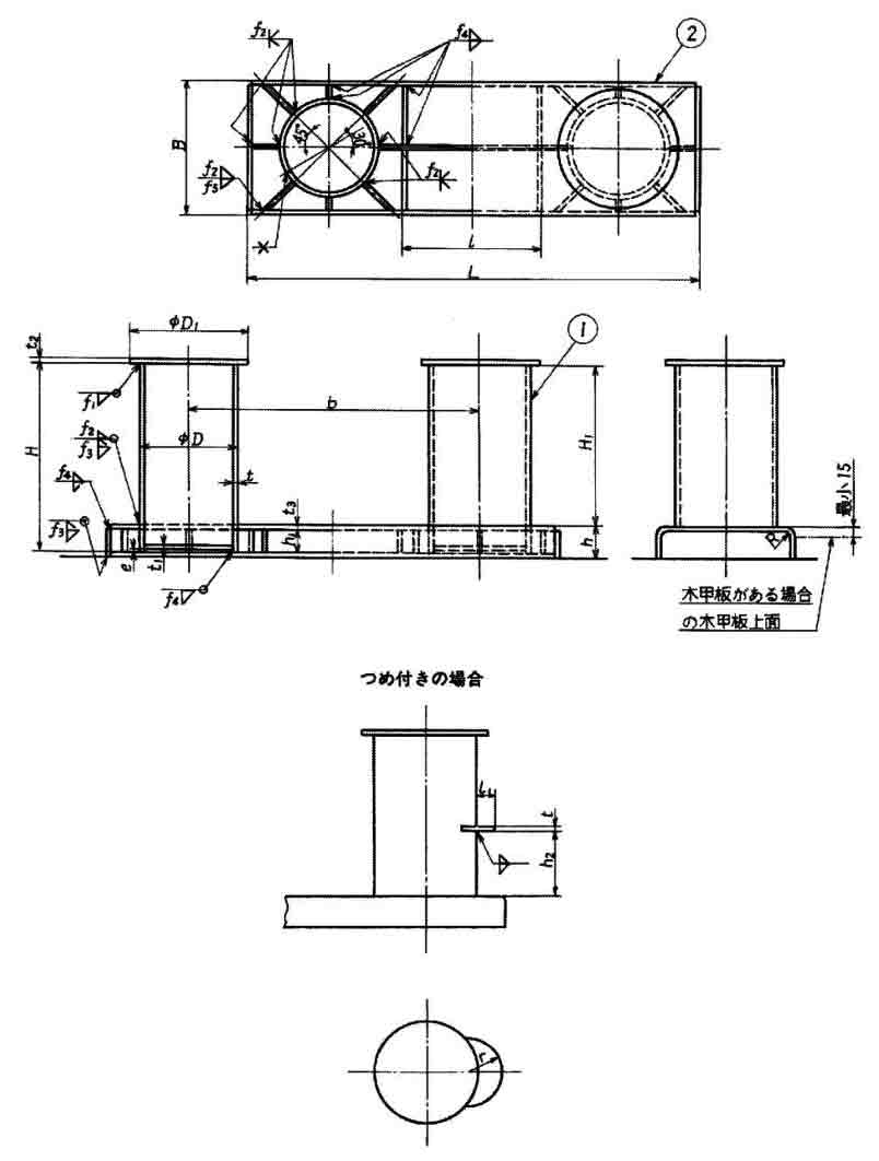
drawing-marine-double-bollard-jis-f2001-1995-lgrig.jpg

Form 1-1:

Part No.

Nominal

Size

Pillar

D

D1

H

H1

t

t1

t2

h1

e

b

h2

l1

r

LGDBJIS010100

100

114.3

145

196

150

10

6

7

40

6

250

-

-

-

LGDBJIS010125

125

139.8

180

246

190

10

6

8

50

6

315

-

-

-

LGDBJIS010160

160

165.2

210

316

250

10

6

9

60

8

400

-

-

-

LGDBJIS010200

200

216.3

270

378

300

10

8

9

70

8

500

-

-

-

LGDBJIS010250

250

267.4

330

470

380

11

10

9

80

8

630

190

60

80

LGDBJIS010315

315

318.5

385

597

480

15

12

9

105

10

800

205

70

105

LGDBJIS010355

355

355.6

425

663

530

17

13

12

120

10

890

230

80

120

LGDBJIS010400

400

406.4

48.5

749

600

18

14

12

135

10

1000

255

90

140

LGDBJIS010450

450

457.2

550

841

680

19

16

12

145

10

1130

275

100

160

LGDBJIS010500

500

508.0

610

928

750

20

18

12

160

12

1250

290

100

180

LGDBJIS010560

560

558.8

670

1025

830

22

20

12

175

12

1380

315

110

200

LGDBJIS010630

630

609.6

730

1152

940

24

22

12

190

12

1570

330

110

225

LGDBJIS010710

710

711.2

840

1294

1050

25

24

12

220

14

1750

350

120

255

LGDBJIS010800

800

812.8

940

1480

1200

26

25

12

255

14

2000

370

120

255


Form 1-2:

Part No.

Nominal

Size

Base

Calculated

weight

(kg)


B

L

h

t3

I

R

LGDBJIS010100

100

165

445

50

6

70

15

18.9

LGDBJIS010125

125

195

540

60

6

100

15

29.4

LGDBJIS010160

160

225

670

70

6

145

20

44.7

LGDBJIS010200

200

290

860

85

8

160

25

79.5

LGDBJIS010250

250

360

1065

100

10

215

30

139

LGDBJIS010315

315

430

1300

125

12

325

35

261

LGDBJIS010355

355

480

1475

145

13

360

40

361

LGDBJIS010400

400

550

1630

160

14

400

45

502

LGDBJIS010450

450

620

1840

170

16

450

50

685

LGDBJIS010500

500

690

2040

190

18

500

55

911

LGDBJIS010560

560

750

2240

210

20

560

60

1208

LGDBJIS010630

630

820

2510

225

22

680

70

1601

LGDBJIS010710

710

960

2840

260

24

710

80

2252

LGDBJIS010800

800

1100

3240

295

25

810

80

3071


We are a professional manufacturer and supplier of Trawling / Rigging / Stainless / Yacht Equipments in China
Contact LG RIGGING NOW
Request a Free Quote
Upload
or drag files here.

Related Cleats & Fairleads

China LG RIGGING's Updates
Copyright © QINGDAO LG RIGGING CO.,LTD. All Rights Reserved.
sales@lg-lifting.com
+86 19524345486